Welcome to Ready Access Memory, Inc. RAM is an independently owned and operated Macintosh and Apple II sales and service center that has been in business since 1984.
Ready Access Memory
541-461-2046
1160 North Park Ave
Eugene, OR 97404
Macintosh
G-4
G-3 B/W
G-3 Beige
iMacs
PowerMacs
68000 Series
Classic Macs
PowerBooks

Peripherals
Printers
Scanners
Monitors
Video Cards
Keyboards
Mice
Track Balls
Modems
Cables
Hard Drives

Upgrades
Memory
CPU
Hard Drives

Software & Manuals
Macintosh
Apple ][
Manuals

Parts
Repair Parts
Component Parts

Apple][
Upgrade Cards
CPU
Monitors
Printers
Disk Drives

 

 

 

 

 

Monitor Parts

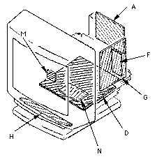
PrecisionColor Display 17 (0460)

Bezel. Part No. 815-0146-01 $140
A. Video Board Part No.
F. Video Amp Board Part No. 915-0380-01 $748
G. Power Supply Part No. 915-0383-01 $855
D. Deflection Board Part No. 915-0381-01 $1000
N. Micom Board Part No. 915-0385-01 $524
H. Control Panel Part No. 915-0384-01 $258
M. Focus Pack Part No. 915-0387-01 $42
Cable Assembly Part No. 915-0391-01 $92
Rear Housing. Part No. 815-0147-01 $140
Tilt Swivel. Part No. 815-0148-01 $229
Back
Ready Access Memory
(541) 461-2046
1160 North Park Avenue
Eugene, OR 97404
ram@raminc.com